多目标优化算法:多目标猎人猎物优化算法MOHPA(Matlab代码)

作品简介

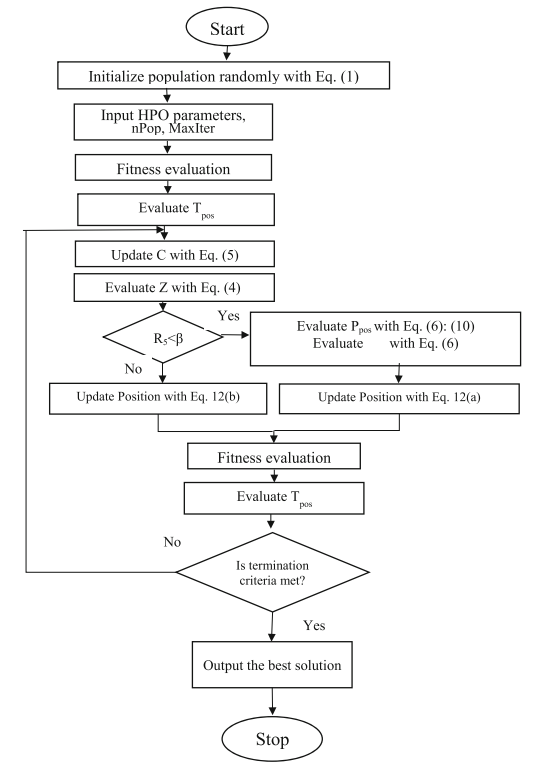
一、算法简介

猎人猎物优化算法(Hunter–prey optimization,HPO)由Iraj Naruei等人于2021年提出,该算法的灵感来自狮子,豹子和狼等捕食动物以及雄鹿和瞪羚等猎物的行为。


二、流程图


三、多目标猎人猎物优化算法MOHPA

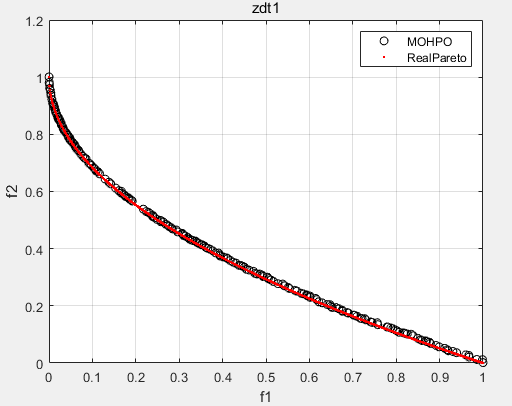
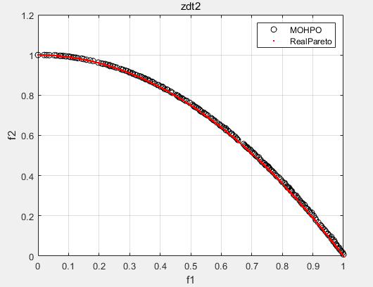
猎人猎物优化算法的优良策略与多目标优化算法框架结合形成多目标猎人猎物优化算法MOHPO),为了验证所提的MOHPO的有效性,将其在46个多目标测试函数(ZDT1、ZDT2、ZDT3、ZDT4、ZDT6、DTLZ1-DTLZ7、WFG1-WFG10、UF1-UF10、CF1-CF10、Kursawe、Poloni、Viennet2、Viennet3)上实验。

ZDT1:


ZDT2:


ZDT3:


ZDT4:


DTLZ5:


DTLZ6:


Viennet2:


四、源文件

源文件夹包含MOHPO的所有完整代码,包含46个多目标测试函数,代码可直接运行,支持二次开发。


创作时间: