电力电子仿真(三十九)基于直接电流控制结合电压前馈和有源阻尼控制策略的LCL型并网逆变器研究(模型+设计报告+参考文献)

作品简介

电力电子仿真(三十九)基于直接电流控制结合电压前馈和有源阻尼控制策略的LCL型并网逆变器研究(模型+设计报告+参考文献+讲解+控制策略详解)




1)采用直接电流控制;

2)采用电流双闭环控制;

3)外环采用并网电流,PI控制;

4)内环采用电容电流反馈,P控制,有效抑制系统谐振;

5)引入电网电压前馈控制,加快系统反应速度、抑制谐波、减少并网冲击、降低网侧电压突变影响;

6)采用双极性spwm调制;

7)并网电流THD<3%;

8)各个模块功能分类明确,理解容易。

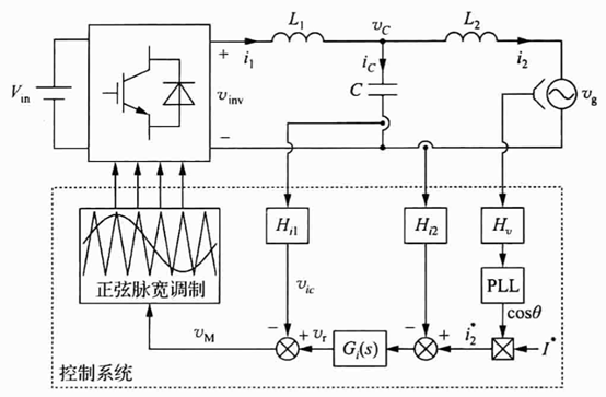
下图给出了单相LCL型并网逆变器及其控制结构。其中,L1为逆变器侧电感,C为滤波电容,L2为网侧电感,它们构成LCL滤波器。对并网逆变器而言,其首要目标是控制并网电流i2,使其与电网电压vg同步,并使其幅值跟踪给定值参考电流值I*。通常,Ug的相位由锁相环(phase-lockedloop,PLL)获得,I*由外部电压环产生。由于电压环的响应速度远低于并网电流环,可以对并网电流环进行单独分析。在下图Hi1和H2分别为电容电流ic和并网电流i2(ig也指并网电流)的采样系数。I2 的采样信号与其指令值参考电流i*进行比较,得到的误差信号送人电流调节器Gi(s)(这里采用PID调节器)。 通过反馈电容电流ic实现LCL滤波器谐振尖峰的有源阻尼。从G,(s)的输出vr,中减去ic的反馈信号vic ,得到调制波vm。


      根据下图可得到LCL型并网逆变器的数学模型,如图所示。其中,Kpwn=Vin/Vtri为调制波Vin到逆变桥输出电压Vtri的传递函数,这里Vin为输人电压,Vtri为三角载波的幅值。


说明文档:


控制框图:


仿真模型:

波形:



创作时间: